主要尺寸和性能数据
H |
40 mm |
height system |
B |
48 mm |
width carriage |
L |
107 mm |
overall length carriage 1 |
C |
33,500N |
dynamic load rating 1 |
C0 |
82,000 N |
static load rating 1 |
M0x |
440Nm |
static moment rating about X axis |
M0y |
1200Nm |
static moment rating about Y axis |
M0z |
1080Nm |
static moment rating about Z axis |
≈m |
0.72kg |
重量 |
安装尺寸
A1 |
12.5 mm |
|
JB |
35 mm |
|
b |
23 mm |
width rail |
A2 |
6.5 mm |
|
L1 |
82.2 mm |
|
LS |
2.2 mm |
|
JL |
50mm |
|
H1 |
6.5 mm |
|
H4 |
32.5 mm |
|
H5 |
5.25 mm |
|
T5 |
7.5mm |
|
G2 |
M6 |
fixing screws above (DIN ISO 4762-12.9) |
G2 MA |
17 Nm |
maximum tightening torque 3 |
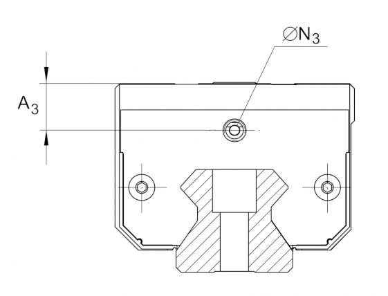
A3 |
11.5 mm |
position lubrication connector |
N3 |
M6 |
lubrication connector |
t N3 |
6 mm |
maximum permissible screw depth for lubrication connectors |
N2 |
3 mm |
max. diameter of lubrication hole in adjacent construction 4 |
JL5 |
20.3mm |
position lubrication connector 5 |
GS |
M4x4 |
|
O |
10x1,5 mm |
O-Ring DIN 3771 |




